В России запатентован БПЛА, собирающий фрукты и складывающий их в корзину
Федеральный агроинженерный центр запатентовал модель БПЛА для сбора фруктов. Робот видит плоды с помощью 3D-камер, ориентируется самостоятельно по ГЛОНАСС и аккуратно собирает урожай в корзину. Спрос на дроны в аграрном секторе России растет, в том числе из-за отсутствия кадров, говорят эксперты.
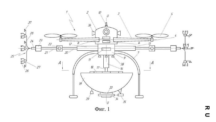
Что собой представляет БПЛА для фруктов
ФГБНУ «Федеральный научный агроинженерный центр Вим» запатентовал модель беспилотного летательного аппарата (БПЛА), собирающего фрукты. С патентом, размещенном в базе данных Роспатента, удалось ознакомиться CNews.
Использование беспилотных летательных аппаратов для сбора плодов фруктовых деревьев позволит повысить эффективность и качество собираемых плодов, минимизировать повреждаемость плодов до предельно допустимых значений, считают ученые агроинженерного центра. Авторами изобретения стали Леонид Марченко, Андрей Измайлов, Алексей Кутырев.
В состав аппарата входят корпус, радиальные кронштейны, двигатели, несущие винты, источник энергии, посадочное шасси, технологический модуль, включающий роботов-манипуляторов с механизмами захвата плодов, контейнер для плодов, систему технического зрения с 3D-стереокамерами. Устройство также оснащено бортовой системой автоматического управления пилотированием и навигацией, приемником ГЛОНАСС.
Каждый робот-манипулятор содержит линейный шток и поворотный рычаг, соединенные между собой через поворотный серводвигатель. Контейнер для сбора плодов закреплен на конце штока вертикального линейного сервопривода и разделен монтажной планкой на загрузочные сектора с установленными над ними 3D-стереокамерами глубины.
Какие БПЛА для сбора фруктов патентовали раньше
В материалах говорится, что уже был запатентован похожий аппарат, но его конструкция не была совершенна из-за зубчатой пилы и ножниц, работающих только в одной плоскости. В результате при срезании плодов, они повреждались, а у БПЛА нарушался «баланс масс» из-за неравномерной загрузки контейнеров плодами. Кроме того, этим БПЛА надо было управлять дистанционно, а значит у каждого дерева должен был стоять оператор, в результате устройство показывало низкую производительность и недостаточное качество сбора плодов.
Также известны БПЛА, с помощью которых пытались собирать фрукты, например, с вертикальными пропеллерами и цепляющейся за листья сеткой для плодов, а также требующие специальные способы и устройства балансировок, применения источника энергии в качестве подвижного противовеса.
Изобретатели утверждают, что именно их БПЛА наиболее эффективно собирает плоды, не повреждая их.
Как работает БПЛА для сбора фруктов
Изобретатели раскрыли, как работает беспилотник для сбора плодов.
Перед началом работы в полетный контроллер загружается полетное задание (программа полета), отображающее в электронном виде координаты начало полета: длина и ширина квартала плодовых насаждений, ширина каждого ряда, расстояние между деревьями в ряду, высота деревьев, координаты каждого дерева в ряду, диаметр крон деревьев, координаты реперных точек начала и окончания полета, координаты реперных точек на последующие полеты по ряда, траектория полета (маршрут) с учетом поворотов и заходов БЛА1 на следующий ряд.
По сигналу от полетного контроллера электропитание подается к бортовой системе автоматического управления пилотированием и навигацией, технологическому модулю и системе технического зрения.
Включаются в работу система технического зрения и система управления и навигации. В соответствии с полетным заданием и по данным координат, получаемых от приемника ГЛОНАСС беспилотник устанавливается на исходную реперную точку начала полета. Интегрированная навигационная система посредством приемника ГЛОНАСС с антенной принимает сигналы от глобальной спутниковой навигационной системы, вычисляет текущие значения координат местоположения БПЛА, обеспечивает полет в реальном масштабе времени.
Затем запускаются двигатели, производится раскрутка несущих винтов и двигатели переводятся во взлетный режим. Осуществляется вертикальный взлет беспилотника. Он поднимается в воздух и подлетает плодовому дереву в соответствии с программой полета.
Стереокамеры определяют геометрические размеры и плотность крон деревьев, расстояния между деревьями, распознают плоды, определят их координаты и передают информацию в технологический контроллер.
Процессор технологического контроллера по полученной информации от стереокамер по заданному алгоритму, моделирует секторы сбора плодов для робота-манипулятора с указанием трехмерных координат каждого плода и линейного расстояния до плода. Данные по интерфейсу передаются в полетный контроллер, который дает команду на маневрирования для оптимального позиционирования.
От технологического контроллера сигнал поступает в контроллер линейного сервопривода робота-манипулятора, который выдвигает шток и, соответственно, концевой эффектор с захватом в рабочий диапазон. Захват зажимает плод, поворачивается посредством двигателя, скручивает плодоножку и отрывает плод от ветки дерева.
БПЛА приспособлен работать со сложными плодами. Урожай он аккуратно помещает в корзину, что исключает повреждение плодов: они без удара скатываются по стенке контейнера на его дно. После загрузки контейнера робот перегружает плоды в транспортный наземный контейнер безударным способом.
Использование беспилотных летательных аппаратов для сбора плодов фруктовых деревьев позволит повысить эффективность и качество собираемых плодов с фруктовых деревьев, минимизировать повреждаемость плодов до предельно допустимых значений.
Коммерциализация технологии
На момент публикации в «Вим» не ответили на запрос CNews о вариантах коммерциализации технологии. Генеральный директор и основатель компании ООО «ГеосАэро» (компания применяет БПЛА для мониторинга в области сельского хозяйства) Захар Завьялов считает, у изобретателей есть шанс продать патент производителю БПЛА. Но пока большого числа покупателей на подобные технологии в России нет. Но, например, эта она могла быть интересна компании «Транспорт будущего», которая выпускает агродроны в Тольятти, считает эксперт.
Перспективы подобных технологий связаны в первую очередь с дефицитом кадров.
«В целом, роботизация сбора плодов, конечно, история интересная, потому что рынок труда сейчас испытывает дефицит кадров. Все мы понимаем, что кадры уходят либо служить, либо находятся в тех местах, где им платят большие деньги, а тут сезонная работа», — говорит эксперт.
Технология сбора вызвала вопросы
По словам Завьялова, проблема с кадрами для такой сезонной работы есть во всем мире.
Но к самому аппарату из патента у эксперта возникли вопросы. В частности, от считает, что сбор фруктов в контейнер при манипуляторе приведет к большому расходу энергии и слишком частом возвращении устройств для подзарядки. Сейчас уже есть изобретения, когда фрукты собираются с помощью присосок с тележек, которые едут по земле. К таким тележкам можно протянуть электрокабель.
В 2022 г. израильский стартап Tevel Aerobotics продемонстрировал свою разработку — летающие беспилотники FAR (Flying Autonomous Robots), способные делать работу за людей.
Каждая платформа состоит из модуля на колёсной базе, который движется вдоль рядов плодовых деревьев, а квадрокоптеры соединяются с ним при помощи кабелей. База служит источником электроэнергии для беспилотников.
Используя бортовые камеры и «зрение» на основе алгоритмов искусственного интеллекта, дроны могут распознавать отдельные фрукты и другие объекты. Дополнительно они могут способны оценить их размеры и даже зрелость. Кроме того, беспилотники могут избегать препятствий на пути к выбранному фрукту.
Будущее сельского хозяйства — за дронами
Согласно подготовленного Минпромторгом обновленного проекта Стратегии развития беспилотной авиации России на период до 2030 года и на перспективу до 2035 года На сегодняшний день лидирующими отраслями в мире по объему заказанных услуг с применением беспилотных авиационных систем являются энергетический сектор (14%), строительство (12%) и сельское хозяйство (9%). Минсельхоз России назван одним из главных заказчиков разработки беспилотных авиационных систем, площадь сельхозугодий достигает 380 млн га. Наибольший потенциал для расширения применения беспилотной авиации в России имеется именно в сельском хозяйстве.
Как сообщал журнал «Агроинвестор» в конце 2024 г., в ближайшие три года АПК может закупить беспилотников на сумму около 360 млн руб. Ежегодный спрос на БПЛА достигает 20,2%, добавляли в Союзе беспилотной сельхозавиации.





